Product Summary
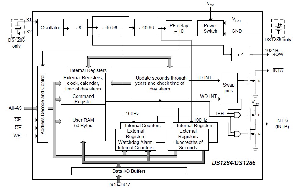
The DS1286I+ is a watchdog timekeeper. The DS1286I+ is self-contained real-time clocks, alarms, watchdog timers, and interval timers in a 28-pin JEDEC DIP and encapsulated DIP package. The DS1286I+ contains an embedded lithium energy source and a quartz crystal, which eliminates the need for any external circuitry. The DS1286I+ requires an external quartz crystal and a VBAT source, which could be a lithium battery. Data contained within 64 8-bit registers can be read or written in the same manner as byte-wide static RAM. Data is maintained in the watchdog timekeeper by intelligent control circuitry that detects the status of VCC and write protects memory when VCC is out of tolerance. The lithium energy source can maintain data and real time for over 10 years in the absence of VCC.
Parametrics
DS1286I+ absolute maximum ratings: (1)Voltage Range on Any Pin Relative to Ground: -0.3V to +7.0V; (2)Operating Temperature Range Commercial: 0℃ to +70℃; (3)Industrial: -40℃ to +85℃; (4)Storage Temperature Range: -40℃ to +85℃; (5)Input Leakage Current IIL: -1.0 to +1.0 μA; (6)Output Leakage Current ILO: -1.0 to +1.0 μA.
Features
DS1286I+ features: (1)Keeps Track of Hundredths of Seconds, Seconds, Minutes, Hours, Days, Date of the Month, Months, and Years; Valid Leap Year Compensation Up to 2100; (2)Watchdog Timer Restarts an Out-of-Control Processor; (3)Alarm Function Schedules Real-Time-Related Activities; (4)Embedded Lithium Energy Cell Maintains Time, Watchdog, User RAM, and Alarm Information; (5)Programmable Interrupts and Square-Wave Outputs Maintain JEDEC Footprint; (6)All Registers are Individually Addressable via the Address and Data Bus; (7)Accuracy is Better than ±1 Minute/Month at +25℃ (EDIP); (8)Greater than 10 Years of Timekeeping in the Absence of VCC; (9)50 Bytes of User NV RAM; (10)Underwriters Laboratory (UL)Recognized.
Diagrams

| Image | Part No | Mfg | Description | ![]() |
Pricing (USD) |
Quantity | ||||||||||||
|---|---|---|---|---|---|---|---|---|---|---|---|---|---|---|---|---|---|---|
![]() |
![]() DS1286I+ |
![]() Maxim Integrated Products |
![]() Real Time Clock |
![]() Data Sheet |
![]() Negotiable |
|
||||||||||||
| Image | Part No | Mfg | Description | ![]() |
Pricing (USD) |
Quantity | ||||||||||||
![]() |
![]() DS12 |
![]() Apem |
![]() DIP Switches / SIP Switches 12POS SPST 0.05A 24V |
![]() Data Sheet |
![]()
|
|
||||||||||||
![]() |
![]() DS1200 |
![]() |
![]() IC SRAM 1KBIT 4MHZ 10DIP |
![]() Data Sheet |
![]() Negotiable |
|
||||||||||||
![]() |
![]() DS1200-3 |
![]() |
![]() POWER SUPPLY AC/DC 12V 1200W |
![]() Data Sheet |
![]()
|
|
||||||||||||
![]() |
![]() DS1200-3-002 |
![]() Emerson / Astec Power |
![]() Linear and Switching Power Supplies 12V Out 1200W 1Ux2Ux11" w/5V Sby |
![]() Data Sheet |
![]()
|
|
||||||||||||
![]() |
![]() DS1200DC-3 |
![]() Emerson / Astec Power |
![]() Linear and Switching Power Supplies 48V In 12VOut 1200W 1Ux2Ux11" |
![]() Data Sheet |
![]()
|
|
||||||||||||
![]() |
![]() DS1200HE-3 |
![]() |
![]() POWER SUPPLY 12VOUT 1200W |
![]() Data Sheet |
![]()
|
|
||||||||||||
(China (Mainland))












